王老板您好:
您在我公司訂購的LZF-6型倉壁振動器30臺貨已發出,貨到后安物流會安排人把
貨給您送到倉庫請您安排人驗收。另外下一批貨我已安排給您備貨,請您放心,啥時候
通知我發貨隨時可發。合作愉快!

LZF倉壁振動器產品概述
倉壁振動器又稱振動防閉塞裝置,用來使料倉、料罐或料斗漏料段的傾斜壁高頻振動,以防止和消除料倉,料罐或料門內物料起拱、出現管狀通道、倉壁粘料等不暢流現象,以保證物料從料倉、料罐或料斗中順暢流出,提高物料輸送的自動化程度。倉壁振動器由于具有結構簡單、防堵塞能力強、能耗低、壽命長、激振力可調等優點,目前已廣泛應用于煤炭、電力、建材、煤炭、礦山、化工、冶金、鑄造、輕工、食品、制藥、糧食、交通等各種行業貯料倉的防閉塞之用。具有體積小、重量輕、高效節能、安裝簡單等特點。
LZF倉壁振動器特點:
1、倉壁振動器能力強、功耗低、效果好;
2、倉壁振動器能力可調、使用范圍廣,噪音低、壽命長
3、安裝和維修方便;
LZF倉壁振動器使用條件
1、料倉錐部容量低于200m3的各種結構貯煤倉或貯料倉。
2、毫米級倉貯物料,微粉的含量低于20%。
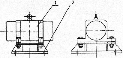
LZF倉壁振動器結構及工作原理
LZF倉壁振動器可用螺栓把底座固定于料倉底部的倉壁上,也可直接把底座焊接在料倉上,其固定(焊接)要牢靠,與倉壁連接的剛度越好,其使用效果就越好。
LZF倉壁振動器結構及工作原理
結構如圖所示。由振動電機(1),底座(2)兩部分組成。振動電機和底座由螺栓緊密地固定為一體。由于底座緊固地安裝在料倉壁上,這樣就構成了單質點定向***振動系統。
LZF倉壁振動器采用振動電機作為激振LZF型料倉振動防閉寒裝置采用電機作為激振源。當LZF倉壁振動器工作時,振動電機的高速轉動,便產生了對料倉壁的周期性高頻振動,由于倉壁振動器的周期性振動,一方面使物料與倉壁脫離接觸、消除物料與倉壁的摩擦,另一方面使物料受交變速度和加速度的影響,處于不穩定狀態,從而有效地克服物料的內摩擦力和聚集力,以消除料倉內物料間的相對穩定性,使物料從料倉口順利排出。
LZF倉壁振動器的技術參數表
倉壁振動器型號 | 適用料倉槽 | 錐部倉容 | 配用振動電機 | 激振力 | 功率 | 重量 |
LZF-3倉壁振動器 | 1.6-3.2 | 0.6 | 0.7-2 | 0.7 | 0.075 | 20 |
LZF-4倉壁振動器 | 3.2-4.5 | 1 | 1.5-2 | 1.5 | 0.15 | 25 |
LZF-5倉壁振動器 | 4.6-6 | 3 | 2.5-2 | 2.5 | 0.25 | 38 |
LZF-6倉壁振動器 | 6-8 | 10 | 5-2 | 5 | 0.4 | 42 |
LZF-10倉壁振動器 | 8-10 | 20 | 10-2 | 10 | 0.75 | 58 |
LZF-15倉壁振動器 | 10-12 | 50 | 15-2 | 15 | 1.1 | 65 |
LZF-20倉壁振動器 | 12-15 | 80 | 20-2 | 20 | 1.5 | 98 |
LZF-25倉壁振動器 | 15-25 | 150 | 30-2 | 30 | 2.2 | 147 |

