電磁振動給料機是一種新型的給料設備,它和其它給料設備相比具有以下特點:
1.體積小,重量輕,結構簡單,安裝方便,無轉動部件不需潤滑,維修方便,運行費用低;
2.電振機的控制設備采用了可控硅半波整流線路,因此在使用過程中可以通過調節可控硅開放角的辦法方便地無極調節給料量;
3.電振機可以瞬時地改變和啟閉料流,所以給料量有較高的精度,并可以實現生產流程的集中控制和自動控制;
4.給料槽中的物料在給料過程中連續地被拋起,并按照拋物線的軌跡向前進行跳躍運動,因此給料槽的磨損較??;
5.采用合金鋼板制成的料槽,可適用輸送高溫、磨損嚴重及有腐蝕性的物料等。
GZ系列電磁振動給料機產品概述:
GZ系列電磁振動給料機廣泛應用于冶金、礦山、煤炭、建材、化工、電力、糧食、機械等行業,可將顆粒狀、粉狀物料均勻、連續、定量地送至受料裝置。特別適用于自動配料、定量包裝、生產流程自動化、給料精度要求高的場合。
GZ系列電磁振動給料機主要特點:
1.由于可以瞬時地改變和啟閉料流,所以給料量有較高的精度。
2.體積小,重量輕,結構簡單,安裝方便,無轉動部件不需潤滑,維修方便,運行費用低。
3.電磁振動給料機由于運用了機械振動學的共振原理,雙質體在低臨界近共振狀態下工作,因而消耗電能少。
4.由于給料槽中的物料在給料過程中連續地被拋起,并按拋物線的軌跡向前進行跳躍運動,因此給料槽的磨損較小。
5.本系列電振機的控制設備采用了可控硅半波整流線路,因此在使用過程中可以通過調節可控硅開放角的辦法方便地無級地調節給料量,并可以實現生產流程的集中控制和自動控制。
GZ系列電磁振動給料機主要用途:
電磁振動給料機廣泛使用在冶金、煤炭、電子、機械、化工、建材、輕工、糧食等行業中,在生產流程中,用于把塊狀、顆粒狀、粉狀物料從貯料倉或漏斗中定量、均勻、連續地給到受料裝置中去。
GZ系列電磁振動給料機工作原理:
電磁振動給料機的激振器電磁線圈的電流是經過單相半波整流的,當線圈接通后在正半周內有電流通過,銜鐵與鐵芯之間便產生了一脈沖電磁力互相吸引,這時槽體向后運動,激振器的主彈簧發生變形儲存了一定的勢能,在負半周線圈中無電流通過,電磁力消失,主彈簧釋放能量,使銜鐵和鐵芯朝反方向離槽體向前運動,于是電磁振動給料機以交流電源的頻率作每分鐘3000次的往復振動,由于槽體的底平面與激振力作用線有一定的夾角,因此槽體中的物料沿拋物線的軌跡連續不斷地向前運動。調節整流電壓的高低,即可控制電磁振動給料機的送料量。給料機采用可控硅整流供電。改變可控硅的導通角,即可控制輸出電壓的高低。根據使用條件,可取不同信號來控制可控硅導通角的大小以達到自動定量送料的目的。

GZ系列電磁振動給料機參數表
| 類型 | 型號 | 生產率 (t/h) | 給料粒度 (mm) | 雙振幅 (mm) | 電壓 (V) | 電流(A) | 有功功率 (KW) | 控制箱 | 重量 (kg) | ||
| 水平 | -10 0 | 工作電流 | 表示電流 | ||||||||
| 基本型 | GZ1 | 5 | 7 | 50 | 1.75 | 220 | 1.34 | 1.0 | 0.06 | XKZ-5G 3 | 73 |
| GZ2 | 10 | 14 | 50 | 3.0 | 2.3 | 0.15 | 146 | ||||
| GZ3 | 25 | 35 | 75 | 4.58 | 3.8 | 0.20 | 217 | ||||
| GZ4 | 50 | 70 | 100 | 8.4 | 7.0 | 0.45 | XKZ-20G 2 | 412 | |||
| GZ5 | 100 | 140 | 150 | 12.7 | 10.6 | 0.65 | 656 | ||||
| GZ6 | 150 | 210 | 200 | 1.5 | 380 | 16.4 | 13.3 | 1.5 | XKZ-20G 3 | 1271 | |
| GZ7 | 250 | 350 | 250 | 24.6 | 20 | 3.0 | XKZ-100G 3 | 1920 | |||
| GZ8 | 400 | 560 | 300 | 39.4 | 32 | 4.0 | 3040 | ||||
| GZ9 | 600 | 840 | 350 | 47.6 | 38.6 | 5.5 | XKZ-200G 3 | 3750 | |||
| GZ10 | 750 | 1050 | 500 | 39.4×2 | 32×2 | 4.0×2 | XKZ-200G 3 | 6491 | |||
| GZ11 | 1000 | 1400 | 500 | 47.6×2 | 38.6×2 | 5.5×2 | 7680 | ||||
| 上振型 | GZ3S | 25 | 35 | 75 | 1.75 | 220 | 4.58 | 3.8 | 0.20 | XKZ-5G 2 | 242 |
| GZ4S | 50 | 70 | 100 | 8.4 | 7.0 | 0.45 | XKZ-20G 2 | 457 | |||
| GZ5S | 100 | 140 | 150 | 12.7 | 10.6 | 0.65 | 666 | ||||
| GZ6S | 150 | 210 | 200 | 1.5 | 380 | 16.4 | 13.3 | 1.5 | XKZ-20G 3 | 1246 | |
| GZ7S | 250 | 350 | 250 | 24.6 | 20 | 3.0 | XKZ-100G 3 | 1960 | |||
| GZ8S | 400 | 560 | 300 | 39.4 | 32 | 4.0 | 3306 | ||||
| 封閉型 | GZ1F | 4 | 5.6 | 40 | 1.75 | 220 | 1.34 | 1.0 | 0.06 | XKZ-5G 2 | 77 |
| GZ2F | 8 | 11.2 | 40 | 3.0 | 2.3 | 0.15 | 154 | ||||
| GZ3F | 20 | 28 | 60 | 4.58 | 3.8 | 0.20 | 246 | ||||
| GZ4F | 40 | 56 | 60 | 8.4 | 7.0 | 0.45 | XKZ-20G 2 | 464 | |||
| GZ5F | 80 | 112 | 80 | 12.7 | 10.6 | 0.65 | 668 | ||||
| GZ6F | 120 | 168 | 80 | 1.5 | 380 | 16.4 | 13.3 | 1.5 | XKZ-20G 3 | 1278 | |
| 輕槽型 | GZ5Q | 100 | 140 | 200 | 1.5 | 220 | 12.7 | 10.6 | 0.65 | XKZ-20G 2 | 682 |
| GZ6Q | 150 | 210 | 250 | 380 | 16.4 | 13.3 | 1.5 | XKZ-20G 3 | 1326 | ||
| GZ7Q | 250 | 350 | 300 | 24.6 | 20 | 3.0 | XKZ-100G 3 | 1992 | |||
| GZ8Q | 400 | 560 | 350 | 39.4 | 32 | 4.0 | 3046 | ||||
| 平槽型 | GZ5P | 50 | 70 | 100 | 1.5 | 220 | 12.7 | 10.6 | 0.65 | XKZ-20G 2 | 633 |
| GZ6P | 75 | 105 | 100 | 380 | 16.4 | 13.3 | 1.5 | XKZ-20G 3 | 1238 | ||
| GZ7P | 125 | 175 | 100 | 24.6 | 20 | 3.0 | XKZ-100G 3 | 1858 | |||
| 寬槽型 | GZ5K1 | 210 | 100 | 1.5 | 220 | 12.7×2 | 10.6×2 | 0.65×2 | XKZ-20G 2 | 1316 | |
| GZ5K2 | 240 | 100 | 1343 | ||||||||
| GZ5K3 | 270 | 100 | 1376 | ||||||||
| GZ5K4 | 300 | 100 | 1408 | ||||||||
設備選型
GZ系列電磁振動給料機結構形式的分類及用途
類 型 | 生產率計算比重(T/m 3 ) | 用 途 |
基本型 | 1.6 | 結構形式為下振式,用于無特殊要求的物料給料 |
上振型 | 1.6 | 振動器安裝在料槽上方,配置空間不夠的情況安裝使用,其它與基本型相同 |
封閉型 | 1.6 | 適用于易碎顆粒、粉塵較大及具有揮發性的物料給料 |
輕槽型 | 1.0 | 比重較小的輕比重物料給料 |
平槽型 | 按配煤和選煤條件給出 | 適用于薄料層均勻給料,可用于配料(例如配煤) |
寬槽型 | 按配煤和選煤條件給出 | 主要用于選煤,亦可用于向篩分設備給料 |
實際物料比重大于或小于上述計算比重時,生產率應按實際物料比重進行折算。實際生產率和給料機的安裝方式、料層的厚度、 物料含水量、粘性、摩擦系數等有關,選用時請參考詳細選型手冊。
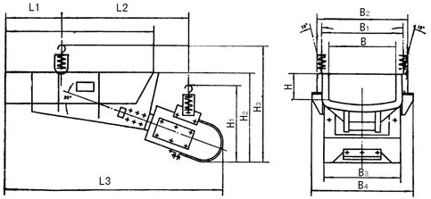
設備外形尺寸
GZ1-GZ5基本型電磁振動給料機

| 號 | B | B 1 | B 2 | B 3 |
公司優勢
應用領域
相關產品
|